| 网站首页 | 电源技术 | 电源资料 | 电源论坛 | 电源电路 | 电源人才 | 电源供求 | 留言本站 | 繁體中文 | 
[ ] 文章搜索:
您现在的位置: 电源开发网 >> 电源技术 >> 新手入门 >> 设计研究 >> 正文
基于DSP的移相全桥倍流整流电路的研究
http://www.dykf.com  2008-11-26  电源开发网           ★★★

Abstract:The operation theory is analyzed is the paper. A new kind of DSP is applied in the circuit. Its control arithmetic is implemented completely by DSP instead of the traditional analog control strategy, which achieves favorable effect.

Keyword:Current Doubler、DSP

一、引言

  在中大功率场合下,由于开关管电压应力低、易于实现软开关等优点,移相全桥电路得到比较广泛的应用。其副边的整流电路形式主要有:全桥、全波、倍流等方式。全桥方式应用于输出电压较高的场合。对于输出电压不高的场合,全波电路由于其元件少,结构简单等优点得到广泛应用。但它也存在一些问题,诸如占空比丢失、整流二极管的反向恢复引起的电压尖峰以及两桥臂实现ZVS(零电压开关)的差异。倍流整流方式则可以克服上述缺点。本文详细分析了倍流电路的工作原理,并将数字控制应用于此电路中,从而克服了模拟控制的一些缺点,取得了较好的控制效果。

二、电路分析

  电路及其主要工作波形图1所示:


图1 (a)


图1(b)
   
  可以看到其一个周期分为12个工作模态,由于下半周期的六个工作模态和上半周期类似,所以,只分析上半周期的工作情况。为便于分析,首先做如下假设:
  (1)各开关管为理想开关管;
  (2)输出滤波电感Lf1=Lf2;
  (3)输出电容Coss1=Coss2=Clead、Coss3=Coss4=Clag;
  (4)电容Cb上的电压Vcb<<V0;
  模态分析:(各模态波形如图2各图所示)
(1)t0~t1
  t1之前,Q1、Q4开通,副边整流二极管D1截止、D2导通。Lf1上电流由于承受正压而上升,Lf2的电流由于承受副的输出电压而线性减小。Q1在t1时刻关断,原边电流给Coss1充电、Coss2放电。此阶段,有:
  iLf1=I1(t0)+(nVi-V0)/Lf1  
  iLf2=I2(t0)-V0/Lf2    
  ip=iLf1/n         
  n为变压器副原边匝比。
(2)t1~t2
  t1时刻,Q1关断,Coss1的存在使得Q1为零电压关断。此时,副边电流就是Lf1中的电流。Lf1中的储存的能量折射回原边以及储存在漏感中的能量给Coss1充电、Coss2放电。由于Lf1比较大、储存在其中的能量比较大,所以,有足够的能量给Coss1、Coss2充放电。在此期间,可认为原边电流保持不变。这样,Coss1、Coss2上的电压分别为:
  Vc1=Ip(t1)(t-t1)/2Clead
  Vc2=Vi-Ip(t1)(t-t1)/2Clead
  在t2时刻,Coss2的电压下降到0,Q3的反并二极管导通,此时,Q3可实现零电压开通。此模态到此结束。这段时间为2*Vi*Clead/Ip(t1)
(3)t2~t3
  这个模态中,iLf2的电流变向(此对实现滞后管的零电压开通有意义),那么D2中的电流将降到0,自然关断。D1中流过iLf1和iLf2中的电流之和。iLf2的电流变向,将被反射回原边,进入下一个模态。
(4)t3~t4
  中,Q2的反并二极管和Q4导通,Cb上的电压由于电流始终对其充电而持续上升。副边中,D2关断,D1导通流过全部负载电流。Lf1、Lf2都承受负的输出电压,其上电流线形减小。此模态方程仍为:
  iLf1=I1(t2)-V0*(t-t2)/Lf1
  iLf2=I2(t2)-V0*(t-t2)/Lf1
  所不同的是,iLf2的电流是反向的,折射回原边有:ip(t)=-iLf2/n。此模态中,iLf2反向增加,原边电流又开始增大。
(5)t4~t5
  t4时刻,关断Q4,漏感能量和Lf2的能量给Coss3放电、Coss4充电。由于Coss4的存在,Q4是零电压关断。Cb上电压因为原边电流的继续充电而继续上升。Lf1上的电流通过D1续流,变压器副边电流即是iLf2上的电流。假设此模态中,ip近似不变,则Coss3、Coss4上的电压分别为:
  Vcoss3=Vi-Ip(t4)*(t-t4)/2Clag
  Vcoss4=Ip(t4)*(t-t4)/2Clag
  在t5时刻,Coss3上的电压下降到0,模态结束。此模态持续时间为:2Vi*Clag/Ip(t4)
(6)t5~t6
  Coss3电压降到0后,Q3的反并二极管自然导通。此时,Q2、Q3的反并二极管都导通,变压器的原边承受反向输入电压。Lf2 承受正的电压,Lf1的电压为负的输出电压。iLf1电流减小、iLf2电流增大(从负的最大值开始回升),原边电流减小。直到t6时刻,原边电流减小到0,此模态结束。
(7)t6~t7
  t6时刻原边电流减小到0,Q2、Q3同时导通,原边电流流经Q2、Q3、Cb、变压器。这段时间里,电源给负载提供能量。Cb上电压开始下降,Lf2电流增加,开始储能。
到t7时刻,Q1关断,进入另一个半周期。与上述各模态类似。



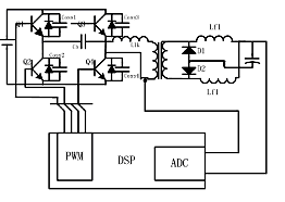
三、数字化控制方式

  系统结构如图3所示:

图 3 系统结构

  DSP采样输出电压和电感电流,采用电压电流双闭环,以实现稳压并且提高系统的性能。
  本系统中采用Motorola 最新推出的DSP—DSP56F8323。此DSP高达60MHZ的频率,使其能满足系统对于实时性的要求。12位AD转换器保证了较高的精度。PWM模块可以输出6路PWM波,非常适用于电机控制。
  由于PI调节器算法简单、可靠性高,一直被广泛应用于工业控制,所以本文也采用数字PI调节,将电压环的输出作为电流环的给定。同时,为防止可能出现的积分饱和的情况,在算法中加入了抗饱和环节。具体算法如下:

  式中,Uv(n)为电压环计算结果,Ev(n)为输入误差,Iv(n)为积分项,K0v为比例系数,K1v为积分系数,Kcorrv为抗饱和系数。Usv的取法如下:

  可见抗饱和项
只在计算结果Uv(n)溢出时才起作用,通常情况下Epiv=0。

四、实验结果

  在实验室中采用上述方法实验成功原理样机。其具体参数如下:Vin=300~380V,Vo=48V,Po=500W。匝比K=2.5,隔直电容Cb=0.2u,输出滤波感Lf1=Lf2=15u。实验结果证明了,超前滞后管都可以在很大的范围内实现ZVS,并且取得了较高的精度。下面给出了电流轻载、半载、满载的驱动和漏源波形。

图4:Io=1A时,1~3分别为滞后管驱动和漏源波形以及副边整流二极管电压波形


图5:Io=5A时,1~3分别为滞后管驱动和漏源波形以及副边整流二极管电压波形


图6:Io=11A时,1~3分别为滞后管驱动和漏源波形以及副边整流二极管电压波形


图7:1、2分别为超前桥臂在Io=1A时的驱动和漏源间电压波形。3为副边为二极管的电压波形


图8:1通道为满载时桥臂中点电压波形;2通道为变压器副边电压波形


图9:1通道为满载时,变压器副边电压波形;2通道为输出电压的交流分量。

  从图4到图6可以看出:在输出电流1A到满载范围内,滞后管都可以实现零电压开关。并且,副边二极管由于是自然换流,所以不存在反向恢复引起的电压尖峰,降低了副边二极管的要求。这一点从二极管的电压波形上可以看出来,几乎没有任何的电压尖峰。相比于全波整流电路,倍流整流方式大大拓宽了桥臂零电压开关范围。
  图7给出了超前桥臂在轻载是的漏源间电压和其驱动波形。从中可以得到,在1A输出电流时,超前管实现零电压开关。超前关的零电压开关是随着输出电流的增大而越发容易。
  图8给出了满载时桥臂中点和变压器副边的电压波形。从中可以看出,几乎没有占空比丢失,提高了电源的利用率。这是倍流相对于全波整流的另一优点所在。
  图9给出了满载时的输出电压的交流分量。可以从中计算得出其峰峰值为0.66V。

五、结论:

  (1)倍流整流方式克服了全波整流所带来的占空比丢失、滞后管ZVS困难以及二极管反向恢复带来的电压尖峰问题。
  (2)使用DSP56F8323实现系统的全数字化控制。该DSP有足够的资源应用于电力电子的控制当中。

参考文献:

(1)DSP56F830016Bit Digital Signal Processor Family Manual.Rev.2.0,Motorola Inc,2002
(2)DSP56F83xx_Peripheral_ManualMotorola Inc,2002
(3)DSP56F8323_Data_Sheet,Motorola Inc,2002
(4)改进型倍流整流电路ZVSPWM全桥变换器 王建冈 陈乾宏 阮新波 电力电子技术 2001.6
来源:《电源世界》  作者:张亮  陈…  点击:  录入:admin
收藏此页】【字体: 】【打印此文】【关闭窗口
※相关链接※
网友评论:(只显示最新10条。评论内容只代表网友观点,与本站立场无关!) 发表评论
专 题 栏 目
推 荐 图 书
热 门 文 章
热 门 下 载
热 门 电 路
论 坛 推 荐
精 彩 广 告

关于本站 - 广告服务 - 联系我们 - 版权申明 - 网站地图 - RSS订阅 - 友情链接 - -
Copyright@2004-2014 ◆电源开发网◆ All Rights Reserved